
Product outline
Tubing Anchor is a device used to secure oil pipes or pipelines, typically used in the oil and gas industry. Its main function is to prevent the tubing from moving or falling off during installation, use, or maintenance, ensuring the stability and safety of the oil pipe. Prevent tubing creep, reduce packer unsealing, string failure, and pump stroke loss caused by tubing creep.
The main types of oil pipe anchors
Mechanical tubing anchor-Fix the tubing inside the casing or wellbore using mechanical devices such as clamps, springs, etc. Common mechanical tubing anchors include compression tubing anchors and tension tubing anchors.
Purpose:Connected to the lower part of the packer, serving as the lower support point for the pipe column, used for setting the packer Overcoming the downward thrust generated by the upper pressure of the packer. Wax deposition is strict. Heavy and dead oil wells are not suitable for use.
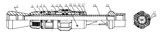
1. Cone 2. Kava 3. Hoop spring 4. Upper limit ring 5. Internal pressure spring 6. Lower limit ring 7. Friction block 8. External pressure spring 9. Anti loosening screw 10. Straightening seat11- Slip ring pin 12- Slip ring 13- Support ring 14- Center tube 15- Lower joint 16- Fixed screw 17- Gasket
2. Hydraulic oil pipe anchor
-Fix the oil pipe using hydraulic principles. Hydraulic oil pipe anchors are usually fixed by hydraulic cylinders or pistons, and are suitable for high-pressure or complex working conditions.
It mainly consists of the following parts: upper joint, slip assembly, center tube, piston, locking device, lower joint, etc. Press the clamp to extend, lock the locking mechanism, anchor the pipe column, and lift the pipe column when releasing the clamp.
ADD:Room 610, Fortune Plaza, Yungang Road, Aviation Economic Zone
PHONE:+86 156 1779 7655 ; +86 187 9070 1558
TEL:+86 371 85304855